Brain Teaser #21
When an electron energy is used, what is changed in the carousel, and is not used with photon energies?
Scattering foil is used to change the 3mm pencil beam into a more homogeneous beam for an electron beam. The scattering foil is not used for photons.
When a photon energy is used, what two components are changed when compared to an electron energy?
Flattening filter and the target is added to the beam for a photon energy.
Please name a few possible effects that could happen if the flattening filter did not click properly into place?
If the flattening filter did not click into place, the beams flatness and symmetry could be off. As well, dose could potentially be off depending on the severity of the issue.
With respect to the linear accelerator, which component is where the electrons are produced?
The electrons are produced in the electron gun.
With respect to the linear accelerator, which component brings the electrons to the desired energy?
The the accelerating waveguide brings the electrons up to the desired energy.
What does the fixed primary collimator define?
The fixed primary collimator defines the maximum circular photon field.
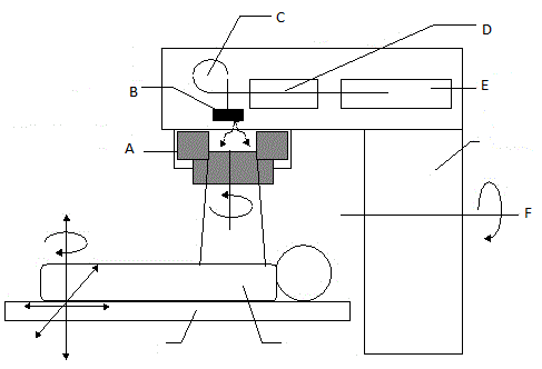
Please match the following with the letters on the diagram...
Target, Collimator and Jaws, Wave Guide, Bending Magnet, Gantry, and Electron Gun.


What monitors the dose in a linear accelerator?
Ionization chambers monitor the dose in a linear accelerator.
What two variables affect the dose reading of an ion chamber if it is not sealed properly?
Temperature and pressure affect the dose reading of an ion chamber if it is not sealed properly.
What type of material is the target usually made out of?
The target is made from a high Z material (high atomic number) because they are more efficient at producing x-rays. An example of this is tungsten.
What does the bending magnet do?
Allows for the beam to strike the x-ray target or pass through the window at the same direction as the treatment, thus changing the accelerating electron beam from horizontal to vertical.
THE END
Author: Jason Sheehan
Editors: Adam Buell and Sean Berry
Date Created: March 2010